Especificaciones Técnicas de OV20i
Esta página proporciona especificaciones técnicas completas para la cámara inteligente OV20i, que incluyen capacidades de hardware, parámetros de rendimiento, asignaciones de pines y requisitos ambientales.
Descripción general del sistema
Modelo: OV20i Industrial AI Vision Camera
Aplicación: Visión artificial avanzada con capacidades de IA integradas
Especificaciones Físicas
| Parámetro | Especificación | Notas |
|---|---|---|
| Altura | 123 mm (4.85") | |
| Ancho | 82 mm (3.25") | |
| Profundidad | 63 mm (2.5") | |
| Peso | 700 g (~1.5 lbs.) | |
| Montaje | 4x M4 (frontal o trasero) | Ver documentación de montaje |
| Grado de Protección | IP54 | Protección contra polvo y humedad |
| Certificaciones | CE/FCC | Conformidad Industrial |
Especificaciones de Alimentación
| Parámetro | Especificación | Notas |
|---|---|---|
| Voltaje de Entrada | 19-24 VDC | Estándar industrial |
| Potencia Máxima | 18W | Consumo pico |
| Potencia Típica | 15W | Operación normal |
| Consumo de Corriente | ~1A @ 24V | Aproximadamente |
Especificaciones Ambientales
| Parámetro | Especificación | Notas |
|---|---|---|
| Temperatura de Operación | 0-45°C | Entorno industrial |
| Temperatura de Almacenamiento | -20 a +70°C | No operativo |
| Humedad | 10-90% RH | Sin condensación |
| Resistencia a Vibraciones | Grado industrial | Adecuado para líneas de producción |
Especificaciones del Sensor de Imagen
| Parámetro | Especificación | Notas |
|---|---|---|
| Modelo de Sensor | Sony IMX296 | Grado industrial |
| Resolución | 1.6 MP | 1456 x 1088 píxeles |
| Tasa de Fotogramas | 60 fps | Máximo |
| Tamaño del Sensor | 1/2.9" | |
| Tipo de Obturador | Global Shutter | Inmunidad al movimiento |
| Color/Mono | Color | Sensor de color RGB |
| Tamaño de Píxel | 3.45 μm x 3.45 μm |
Especificaciones del Sistema de Procesamiento
Módulo de Cómputo NVIDIA Xavier NX
| Componente | Especificación | Detalles |
|---|---|---|
| CPU | 6 núcleos NVIDIA Carmel ARM® v8.2 de 64 bits | Frecuencia máxima: 1.9GHz |
| Caché | 6MB L2 + 4MB L3 | |
| GPU | NVIDIA Volta GPU de 384 núcleos | |
| Aceleración de IA | 48 Tensor Cores | Optimización para aprendizaje profundo |
| Memoria | 8 GB LPDDR4 de 128 bits | Memoria del sistema |
| Almacenamiento | 16 GB eMMC | Almacenamiento interno |
Especificaciones del Sistema Óptico
Sistema de Lentes
| Parámetro | Especificación | Notas |
|---|---|---|
| Tipo de Montaje | Montaje S (M12) | Rosca estándar |
| Lente Estándar | 12mm de distancia focal variable | Predeterminado de fábrica |
| Opciones Disponibles | 6mm, 8mm, 16mm, 25mm | Lentes opcionales |
| Tipo de Enfoque | Enfoque variable motorizado | Programable |
| Apertura | Automática/Manual | Controlada por software |
Sistema de Iluminación
| Parámetro | Especificación | Notas |
|---|---|---|
| Conteo de LED | 8 x LEDs blancos PWM | Intensidad programable |
| Método de Control | PWM (Modulación de ancho de pulso) | Control preciso |
| Tipo de LED | LED blanco | Iluminación neutra en color |
| Gestión de Energía | Control térmico integrado | Gestión de calor |
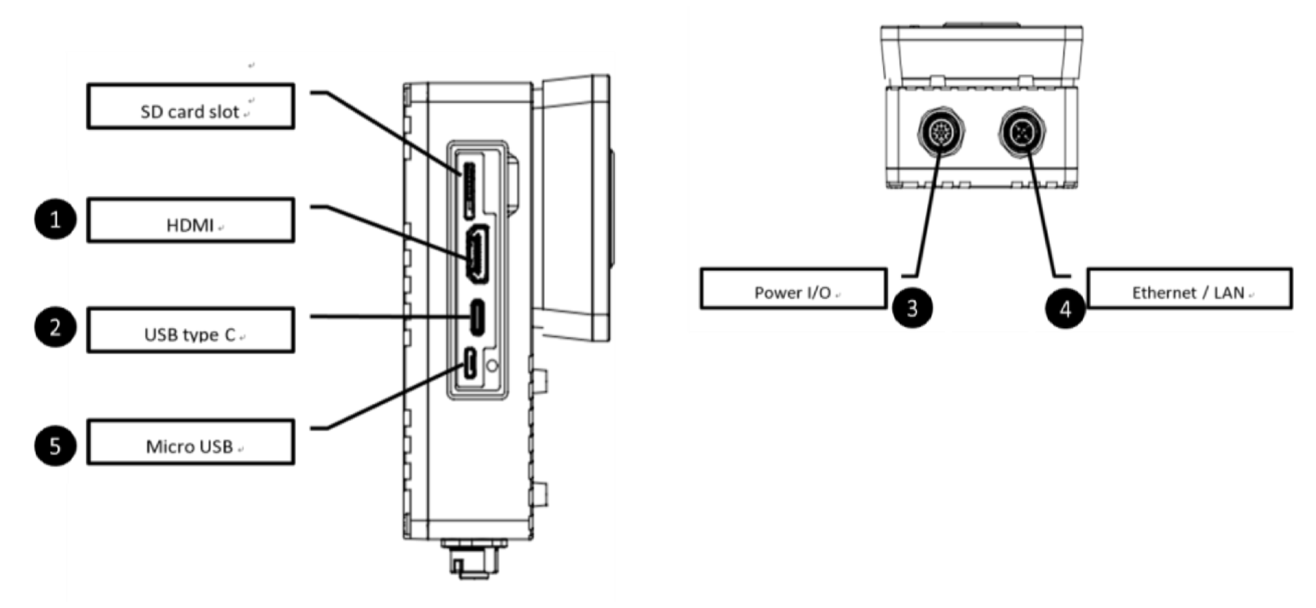
Especificaciones de Conectividad
Puertos Externos

| Puerto # | Tipo | Conector | Descripción |
|---|---|---|---|
| 1 | HDMI | HDMI 2.0 | No se utiliza en OV20i |
| 2 | USB Type-C | USB 3.0 | Adaptador Ethernet opcional |
| 3 | E/S de Alimentación | M12 A-Coded 17 Pin | Alimentación, E/S Digital, RS485 |
| 4 | Ethernet | M12 X-Coded | Red, comunicación con PLC |
| 5 | Micro USB | Micro USB | Acceso de programación de emergencia |
Especificaciones de Red
| Parámetro | Especificación | Notas |
|---|---|---|
| Ethernet | 10/100/1000 Base-T | Soporta Gigabit |
| Protocolos | Ethernet/IP, Profinet | Protocolos industriales |
| IP predeterminada | 192.168.0.100 | Predeterminado estático |
| IP de emergencia | 192.168.55.1 | Acceso por Micro-USB |
| Soporte DHCP | Sí | Configurable |
Especificaciones de E/S Digital
| Señal | Pin | Cantidad | Tipo | Especificaciones |
|---|---|---|---|---|
| Entrada de disparo | 16 | 1 | Entrada Digital | NPN activo bajo - Conéctelo a GND para activar |
| Entrada Digital 0 | 8 | 1 | Entrada Digital | NPN activo bajo - Conéctelo a GND para activar |
| Entrada Digital 1 | 9 | 1 | Entrada Digital | NPN activo bajo - Conéctelo a GND para activar |
| Salida Digital 0 | 10 | 1 | Salida Digital | NPN Sinking - Máx 100 mA, conduce a GND cuando está activo |
| Salida Digital 1 | 11 | 1 | Salida Digital | NPN Sinking - Máx 100 mA, conduce a GND cuando está activo |
| Reset | 15 | 1 | Control del sistema | NPN activo bajo - Conéctelo a GND para reiniciar |

Características Eléctricas de E/S
| Parámetro | Especificación | Notas |
|---|---|---|
| Rango de tensión de entrada | 0-24 VDC | |
| Lógica de entrada | Conectar a GND = Activo | Compatible NPN |
| Corriente de salida | Máximo 100 mA | Por salida |
| Lógica de salida | Conducción a GND | Cuando está activo |
| Estado de salida | Flotante | Cuando está inactivo |
aviso
- Las salidas digitales (DO0 / DO1) son NPN de colector abierto, sólo sinking. Arrastran la línea hacia GND cuando están activos y no pueden suministrar +24 V. Debe proporcionarse un pull-up externo o una carga a +24 V para un funcionamiento adecuado.
- DIO GND (Pin 7) debe estar conectado a GND para que funcione la funcionalidad de entrada digital
- DIO GND está conectado a GND a través de un fusible térmico
- Al conectar a sistemas con fuentes de alimentación diferentes, utilice DIO GND para unir las tierras
- Reset (Pin 15) - Conéctelo a GND para reiniciar la cámara (no es necesario para la mayoría de aplicaciones; manténgalo flotante para evitar reinicios inesperados)
Conector M12 A-Coded de 17 Pines
Tabla de Asignación de Pines
| Pin | Señal | Color de cable (Advantech) | Color de cable (3rd Party) | Función |
|---|---|---|---|---|
| 5 | GND | Pink (PK) | Pink (PK) | Tierra de alimentación |
| 6 | GND | Yellow (YE) | Yellow (YE) | Tierra de alimentación |
| 7 | DIO GND | Black (BK) | Black (BK) | Tierra de E/S Digital |
| 8 | DI0 | Gray (GY) | Gray (GY) | Entrada Digital 0 - NPN activo bajo |
| 9 | DI1 | Red (RD) | Red (RD) | Entrada Digital 1 - NPN activo bajo |
| 10 | DO0 | Violet (VT) | Violet (VT) | Salida Digital 0 - NPN sinking |
| 11 | DO1 | Orange/Pink (OG) | Orange (OG) | Salida Digital 1 - NPN sinking |
| 13 | Vin+ | Light Blue (LTBU) | Light Blue (LTBU) | Entrada de alimentación positiva (19-24V) |
| 14 | Vin+ | Black/White (BKWH) | Black/White (BKWH) | Entrada de alimentación positiva (19-24V) |
| 15 | Reset | Brown/White (BNWH) | Brown/White (BNWH) | Restablecimiento del sistema - NPN activo bajo |
| 16 | Trigger | Red/White (RDWH) | Red/White (RDWH) | Entrada de disparo - NPN activo bajo |
| 1,2,3,4,12,17 | Reservados | - | - | No conectados |
Conexiones de Alimentación
Diseño de entrada de alimentación dual:
- Pin 13 y 14: Ambos conectados a Vin+ (positivo de 19-24 V)
- Pin 5 y 6: Ambos conectados a GND (tierra de alimentación)
- Conexiones duales proporcionan redundancia y aseguran voltaje consistente entre los componentes
nota
Si la alimentación es insuficiente, modifique el cableado para garantizar que la fuente de 24 V esté conectada a ambos puertos Vin+ (pines 13 y 14), en lugar de conectarla solo a un terminal.
Procesamiento de Señales de Imagen
| Característica | Capacidad | Notas |
|---|---|---|
| Color Debayering | Aceleración por hardware | Procesamiento en tiempo real |
| Control de nitidez | Ajustable | Configurable por software |
| Balance de Blancos | Automático/Manual | Corrección CCM |
| Reducción de ruido | Corrección de ruido oscuro | Rendimiento en poca iluminación |
| Control de Brillo | Ajustable por software | Compensación de exposición |
| Corrección de distorsión de lente | Basada en software | Específica para la longitud focal |
Especificaciones de Procesamiento de IA
| Parámetro | Especificación | Notas |
|---|---|---|
| Framework de IA | NVIDIA DeepStream SDK | Optimizado para Xavier NX |
| Tipos de Modelo | Clasificación, Segmentación | Inspección basada en IA |
| Modos de Entrenamiento | Rápido, Preciso/Producción | Clasificación solamente |
| Velocidad de Inferencia | Tiempo real | Capaz de 60 fps |
| Almacenamiento del Modelo | Local en el dispositivo | 16 GB eMMC |
Sincronización y Disparo
| Modo | Tipo | Descripción |
|---|---|---|
| Disparador de Hardware | Entrada digital | Disparo por señal externa |
| Disparador por Software | Red/Manual | Disparo por PLC o manual |
| Disparador del Alineador | Software | Disparo basado en plantillas |
| Disparador por Intervalo | Basado en temporizador | Disparo periódico |
Especificaciones de Rendimiento
| Parámetro | Especificación | Notas |
|---|---|---|
| Velocidad de Procesamiento | Tiempo real a 60 fps | Depende de la complejidad del modelo de IA |
| Latencia | <100 ms | Disparo a resultado típico |
| Precisión | Dependiente del modelo | Basada en la calidad del entrenamiento |
| Rendimiento | Hasta 3600 inspecciones/minuto | A 60 fps |
Contenido del Paquete Estándar
| Artículo | Cantidad | Descripción |
|---|---|---|
| Cámara OV20i | 1 | Unidad principal de la cámara |
| Placa de Montaje | 1 | Hardware incluido |
| Cable de Alimentación I/O | 1 | Conector M12 con bloque de terminales |
| Cable Ethernet | 1 | M12 a RJ45 |
| Documentación | 1 juego | Guía de inicio rápido |
Cumplimiento y Normas
| Estándar | Conformidad | Descripción |
|---|---|---|
| Marcado CE | Sí | Conformidad europea |
| FCC | Sí | Compatibilidad electromagnética de EE. UU. |
| Clasificación IP | IP54 | Protección contra polvo y agua |
| IEC 704-1:1982 | Sí | Nivel de presión sonora ≤ 70 dB(A) |
| Estándares Industriales | Múltiples | Ethernet/IP, Profinet |
🔗 Ver También
- Guía rápida de instalación OV20i
- Tabla de Lentes + FOV
- Guía de cableado de Alimentación + M12
- Especificaciones Eléctricas
Soporte Técnico
Para asistencia técnica:
- Soporte de Overview: support@overview.ai
- Documentación: Disponible en este manual
Las especificaciones están sujetas a cambios sin previo aviso. Para obtener las especificaciones más actuales, consulte la documentación más reciente.